![]()
LA TAUROMAQUIA Y LAS PATENTES
Nos encontramos en unas fechas muy relevantes para los aficionados a la fiesta taurina, pues en estos momentos se desarrolla la feria de san isidro. Se trata de un tema polémico, pues desde hace años hay una profunda división dentro de la sociedad española entre aquellos que apoyan su continuidad y los que lo consideran algo brutal que debería desaparecer. Independientemente de esta controversia, es indudable que el mundo de los toros ha jugado y todavía juega un papel importante en la tradición española. Tampoco este ámbito es ajeno al mundo de la invención y por tanto de las patentes. Los lugares de la Clasificación Internacional de Patentes donde se encuentran ubicadas estas invenciones son el A63J3/00 y A63J99/00. Este último símbolo de clasificación es lo que se denomina un “cajón de sastre”, donde se clasifica todo aquello para lo que no se encuentra un grupo principal o subgrupo más adecuado dentro del ámbito de la subclase. De momento, la OMPI (Organización Mundial de la Propiedad Intelectual) no ha considerado oportuno crear un símbolo de clasificación destinado específicamente a las invenciones del mundo taurino.
Se podría afirmar que es éste uno de los pocos sectores de la clasificación donde, por razones obvias, si se quiere realizar una búsqueda completa, deberá realizarse en castellano y marginalmente en francés y portugués.
Figuras de ES1135059U “estoque de lidia”
Si se efectúa una búsqueda en INVENES por clasificación (A63J99/00 y A63J3/00) se obtienen 75 documentos, de los cuales 50 se refieren al ámbito taurino. Se puede observar que la inmensa mayoría de las mismas se refieren a las banderillas y a las puyas, dado que se trata de aquellos elementos utilizados en la fiesta taurina que mayor componente mecánica presentan y donde tradicionalmente se han presentado problemas que pretenden resolver dichas invenciones. Entre los problemas planteados destaca el evitar un daño excesivo en el animal, como en la patente ES2413204B1 extendida también a México y Francia:
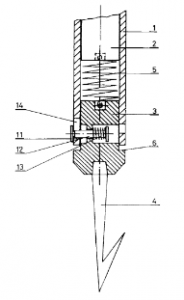
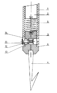
Figuras de ES2413204B1 (Puya retráctil autorrearmable)
Otro problema que se plantea en relación con las banderillas es que éstas, al quedar sobre el lomo del animal pueden herir al torero en lances posteriores. Es por ello que la banderilla objeto de la solicitud ES2131469 tiene como principal característica el que la parte posterior se desprende una vez la anterior se ha clavado en el animal.
Otro campo del toreo en el que se encuentran invenciones es el de los carretones empleados para el toreo de salón, como el del modelo de utilidad ES1035001U, que se refiere a uno robotizado y programado para simular los recorridos de un toro, obtenidos mediante filmación.
Figuras del carretón de ES1035001U
O el siguiente carretón de entrenamiento, objeto del documento de patente ES23782925A1, de prioridad portuguesa:
Carretón de entrenamiento ES2378925A1
Dentro de las patentes taurinas se puede destacar por su originalidad la solicitud de modelo de utilidad de título “estoque de simulación anti-conflictos taurinos” y número de publicación ES1136282U . Mediante su utilización, al impactar con el lomo del bovino, el estoque no causa daño alguno pero emite materiales líquidos o viscosos con colorantes que imitan el color de la sangre. Según afirma el solicitante, mediante su utilización es posible “llegar a un acuerdo entre taurinos y anti taurinos, simulando dichos festejos sin ningún tipo de incidentes y pudiendo rehabilitar plazas de toros que han quedado cerradas debido a la Ley de protección de los animales…”
Figura de la solicitud ES1136282U
Como se ha comentado, aparte de España e Iberoamérica, los únicos países en los que también existe afición taurina son Portugal (ya se mostró una solicitud procedente de dicho país) y Francia. Como ejemplo de patente taurina de origen francés se puede citar la de número FR2963568, de título “pique de picador ameliorée”:
Como era de esperar, el estado de la técnica citado es en su inmensa mayoría de origen español.
Lo que sí que ha resultado sorprendente es encontrar una solicitud de patente estadounidense, de título “walking barrel for bullfighting” y número US2809035 que tiene por objeto un barril portátil destinado a servir de “refugio” en espectáculos taurinos y “rodeos”, normalmente de carácter “cómico”.
Dentro de la tauromaquia, un sector en el que se ha venido desarrollado investigación es el de la genética del toro de lidia, más concretamente en la conservación, selección y mejora genética de la raza de lidia y como siempre que hay investigación, los resultados se deberían proteger mediante patente: la patente ES2497291, de título “Método para conocer la proporción que de las diferentes castas/encastes o líneas incluidas en el Prototipo de la Raza Bovina de Lidia hay en animales o muestras de animales de dicha raza”, fue presentada ante los medios de comunicación hace dos años por la Unión de Criadores de Toros de Lidia y la Asociación de Ganaderías de Lidia.
Es ampliamente conocida, entre otras cosas porque se ha divulgado en este blog, la existencia de inventores en diversos campos del arte; la literatura, el cine, el teatro, la pintura y no podía ser menos el mundo de los toros. También ha habido toreros inventores: Manuel Sales Garrido inventor en varias solicitudes de modelos de utilidad relativas a puyas, picas y banderillas y Valentín de la Hija Pinadero (Cesterito) inventor de un protector de banderillas (ES1028404U).
Donde quiera que haya un problema técnico surge una invención susceptible de ser protegida mediante una patente y ello explica que también haya patentes e invenciones taurinas.










Me pregunto si en lugar de desarrollar nuevas banderillas, nuevas puyas que causan menos daño a los toros para que sigan dando un buen espectáculo hasta el final, no sería mejor acabar con la muerte del toro como ocurre en Portugal……
Pues si no fuera porque persiste la fiesta, el toro bravo habría desaparecido. La investigación en genética sobre la que se habla contribuye a que no se extinga el toro ibérico.
Le pediría a antitaurino un poco de respeto a los aficionados puesto que el arte del toreo forma parte de nuestra historia y cultura y como bien se dice en el blog también forma parte de las culturas francesa, portuguesa y latinoamericana.
Me parece un poco triste que sea este uno de los pocos campos de la tecnología en los que el estado de la técnica es esencialmente español o redactado en castellano. ¿Es esta nuestra aportación a la tecnología? ¡Qué lamentable!
La verdad es que no entiendo por qué la OMPI no ha creado ya un símbolo de la Clasificación de Patentes destinado a las invenciones relacionadas con los toros. ¿A qué están esperando?
Muchas gracias por el artículo. Soy un gran aficionado y no tenía ni idea de que también aquí hubiera invenciones.Me ha encantado. Y nada de polémica, la fiesta no desaparecerá jamás.