![]()
Patentes Históricas: La aspiradora
Previamente a la invención de la máquina aspiradora, la única manera de limpiar el polvo acumulado sobre el suelo o las alfombras era mediante la utilización de la escoba o golpeando las alfombras contra una estructura vertical. Los primeros aspiradores aparecieron en la década de 1860 y eran manuales, como el patentado por Daniel Hess en Estados Unidos en 1860 (US 29077).
Patente US29077
Para su accionamiento eran necesarias dos personas, una que desplazaba la máquina y otra que accionaba un mecanismo de fuelles que generaba la succión. Las primeras máquinas aspiradoras surgieron a comienzos del siglo XX. El británico Booth creó un gran dispositivo, accionado por un motor de combustión inicialmente y en una segunda fase por un motor eléctrico. Se le conocía como “puffing Billy”. Su gran tamaño hacía que fuera necesario desplazarlo en un carro de caballos , quedaba estacionado en el exterior de la vivienda y la manguera se iba desplazando por el interior. Alcanzó tal popularidad que las damas de la alta sociedad organizaban fiestas con motivo de las limpiezas mediante aspirador. De este modo se limpiaban las alfombras de Buckingham Palace.
El primer aspirador portátil y susceptible de ser utilizado por una única persona fue inventado por James Murray Spangler, portero de un almacén de Ohio. Padecía de asma y sufría considerablemente cuando tenía que limpiar el local. Para tratar de paliar sus penalidades, se propuso inventar un aspirador portátil. Lo que hizo fue instalar un viejo ventilador dentro de una caja de jabón y utilizar una funda de almohada para recoger el polvo aspirado, luego instaló un filtro confeccionado con ropa y recibió en 1908 la patente US 889823.
Patente US889823
James Spangler fundó la “Electric Suction Sweeper Company”. Posteriormente se la vendió, así como sus derechos de patente a William Hoover, que fundó la “Hoover Company”, el fabricante de aspiradores más conocido durante muchos años. Aún hoy es uno de los principales fabricantes de electrodomésticos, incluyendo aspiradores. De hecho en numerosos países anglosajones “hoover” es sinónimo de “aspiradora” e incluso se utiliza como verbo: “hoover a carpet”. En 1920 se introdujeron las bolsas de recogida de polvo desechables. No fue hasta después de la segunda guerra mundial cuando los aspiradores portátiles se popularizaron entre las clases medias.
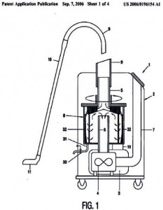
Una gran novedad que se popularizó en los años 90 fue la utilización de la tecnología de separación ciclónica. Estos aspiradores no utilizan una bolsa de recogida del polvo. Las partículas de polvo y otros desperdicios se separan por fuerza centrífuga y caen por gravedad en el interior de un recipiente separable y vaciable.
Patente US2006/0196154
Desde hace alrededor de unos 10 años se han comenzado a comercializar los robots aspiradores. Estas máquinas se desplazan de manera autónoma siguiendo una trayectoria caótica y están programados para regresar a una estación de recarga de las baterías. También en los últimos años se han comenzado a comercializar aspiradoras que utilizan filtros de agua, capaces de retener partículas de polvo de menor tamaño que con las tradicionales.

