![]()
Patentes Históricas: La radio
En el Día Mundial de la Radio nos vamos a ocupar de invenciones patentadas relacionadas con ella, en particular, de las transmisiones de radio. No se puede decir que haya un único inventor de las transmisiones por radio. Se trató de un proceso paulatino, de invenciones que se fueron acumulando, aunque como se verá posteriormente, también hubo importantes litigios relacionados con patentes sobre esta tecnología. Su desarrollo estuvo muy ligado al del teléfono y al de la telegrafía.
El físico alemán Hertz descubrió en 1886 que variaciones en la energía eléctrica se podrían proyectar en forma de ondas. El primer antecedente de la radio fue la telegrafía sin hilos. Por un lado, se tenía un generador de corrientes alternas de alta frecuencia que se conectaba por una parte a un hilo conductor aislado del suelo (antena) y por otro a una toma de tierra. El receptor también se componía de una antena, una toma de tierra y unos circuitos de procesamiento de la señal recibida. La transición hacia el sistema de transmisión por radio tuvo como grandes protagonistas a Marconi y Tesla.
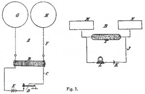
Nikola Tesla, nacido en 1856 en Smiljan (parte del antiguo imperio austro-húngaro) y emigrado a los Estados Unidos, fue un pionero en los comienzos de la ingeniería eléctrica y un personaje muy popular en los Estados Unidos, donde se lo conocía como el paradigma del “inventor loco”. Tesla comenzó sus investigaciones sobre la radio en 1891. En 1893, en San Luis (Missouri) hizo una demostración pública donde expuso los principios en los que se basaban las primeras comunicaciones por radio. Su invención se basaba en la utilización de altísimas frecuencias con las cuales preveía que sería posible la transmisión telefónica sin cables transatlántica. En 1897 Tesla presentó en la Oficina de Patentes norteamericana su primera patente sobre un sistema de radio, la US 645576.
Patente US645576
Por su parte, el italiano Guglielmo Marconi había leído todo lo relacionado con los trabajos de Tesla y de Hertz. Estaba convencido de que las ondas de que hablaban sus predecesores podían emplearse para lograr la comunicación sin hilos. Su primera patente sobre la radio se presentó en Gran Bretaña también en 1897 con el número GB 1896 12039. Marconi no fue sólo un científico sino también un empresario, fundando en 1897 la compañía “The Marconi Company, Ltd”.
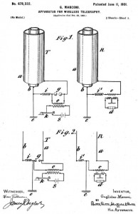
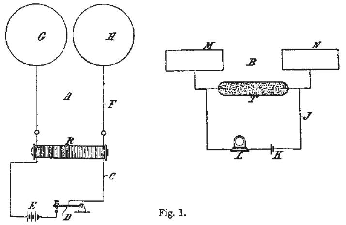
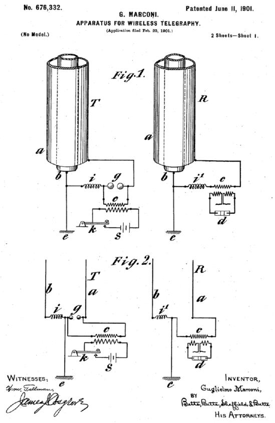
Tras numerosos experimentos llevados a cabo por su empresa, entre los que destaca uno que permitió al príncipe de Gales la comunicación entre su yate y la isla de Wight, a finales de 1898 había demostrado la utilidad de las comunicaciones por radio entre barcos y entre barcos y la costa. En 1901 obtuvo sus dos primeras patentes en Estados Unidos sobre su sistema de radio: USRE11913 y US676332.
Patente US676332
Marconi obtuvo el premio Nobel de física conjuntamente con Braun en 1909 por su contribución al establecimiento de las comunicaciones por radio. Tesla siempre pensó que había sido el inventor de la radio y en 1915 demandó a la compañía de Marconi por infracción de sus patentes, aunque sin éxito. Posteriormente Marconi presentó una demanda de infracción de sus patentes al gobierno de los Estados Unidos, por la utilización de las mismas en sus comunicaciones militares por radio durante la primera guerra mundial. Ante ello el tribunal supremo sentenció en 1943 que las patentes de Marconi eran nulas por haber sido anteriorizadas por la patente anterior de Tesla. Esta sentencia siempre estuvo rodeada de sospechas, pues ahorró una importante suma de dinero al gobierno de los EE.UU en plena segunda guerra mundial.
Dentro del grupo de científicos e inventores que contribuyeron al establecimiento de las comunicaciones por radio hay que mencionar a un español. Se trata del ingeniero Julio Cervera Baviera. Nacido en Segorbe (Castellón) en 1854 estudió en la Universidad de Valencia pero posteriormente ingresó en el ejército, graduándose de la escuela de ingenieros de Guadalajara en 1882. En 1899 y bajo el padrinazgo del ejército español visitó los talleres de Marconi en Londres y colaboró con él, obteniendo algunas patentes a finales de 1899 como la GB189920084.
Patente GB189920084
Su gran avance en se produjo en 1902, cuando realizó transmisiones telefónicas sin hilos entre Jávea e Ibiza. Llegó a registrar su patente en España, el Reino Unido, Alemania y Bélgica. La patente española tenía por número ES29197.
Patente ES29197
El investigador Ángel Faus Belau, profesor de Teoría y Técnicas de la información de la Universidad de Navarra y especialista en historia de la radio y de la comunicación, sostiene que Julio Cervera fue el auténtico inventor de la radio, ya que registró la primera patente en la que se hablaba de la transmisión de voz sin hilos, dado que hasta entonces todas las patentes se referían a transmisión de telegrafía pero no de voz.
Durante los primeros años de la existencia de la radio, se hacía patente la necesidad de un detector de las radiaciones electromagnéticas sensible y muy eficiente. Fue el inventor estadounidense Lee Deforest el que encontró este detector que amplificaba las ondas recibidas por la antena y las transmitía al receptor. Se trataba del tríodo y dio lugar a la radio AM o Amplitude Modulation. Además, fue el primero en utilizar el término “radio” para referirse a este tipo de comunicaciones.
El inventor estadounidense Erwin Howard Armstrong creó la radio FM o “Frequency Modulation”. Mediante esta tecnología se lograba controlar el ruido estático generado por el equipo eléctrico y la atmósfera terrestre. Dicha tecnología se encuentra descrita en la patente US 1342885.
Patente US 1342885
Ya entonces estaban sentadas las bases de lo que es la radio que conocemos actualmente. Luego vendría la invención del transistor y la consiguiente reducción en el tamaño de los aparatos receptores de radio en los años 60.






Marconi se aprovecho de los inventos de Tesla y los uso para presentar la radio como un invento suyo.
Lo que hizo fue unir el puzle que inventó Tesla.
En 1943 EEUU le reconoció a Tesla el verdadero inventor de la radio.
Tesla fue un genio del que muchos se aprovecharon.
Jose Navas.
Primero, si vas a historiar, aprende a buscar datos, y aprende de lo que hablas.
Primero, Tesla nacio en el imperio austro hungaro, estudio en checoslovaquia, y hoy donde el nacion pertenece a serbia, pero nunca fue servio.
EL concepto del invento de Marconi, la radio es la comunicacion inteligente a travez de las emisiones de energia lanzadas al eter.
y la recepcion de las mismas por la parte receptora.
Tesla invento la emision, Radio es un concepto basado en la cobertura de la emision, algo que tesla no tenia en cuenta.
SI nos vamos a guiar por lo que dice la corte pirata de EEUU, entonces tesla se robo las ideas de Faraday y Henry, o Ford las ideas de algun cavernicola…
La radio es invento de Marconi y Popov.
Ser detractor es facil, se busca a quien atribuir un logro para detractar a otro.
Ser inteligente no es facil, pero parece facil cuando se copia y pega sin razonar la informacion….. informate mejor.
Saludos Marcelo
Muy buena y concisa información. Te mando un aporte, busque las patentes por el número que describes y la patente de Marconi GB 12039, es más fácil ubicarla por el numero GB 189612039, seguro fue un error a la hora de redactar pero si no fue asi te dejo el numero completo con el que encontré la patente.
Gracias
Fue el primer trabajo del que me mandaron buscar información en una biblioteca. Por supuesto, yo no había ido nunca a un sitio así, por lo que le pedí a mi abuelo que me acompañase. Y de la mano de él, los dos juntos y en voz muy bajita le pedimos a la bibliotecaria la información. Ella, encantadora, nos ayudó… ¡Se descubrió un mundo maravilloso para mí!. Tan impresionada me quedé de ese lugar y de sus gentes que convertí esa profesión en la mía propia años después y no me he equivocado.
Por ello, gracias al Sr. Tesla por muchos motivos 🙂