![]()
Cómo innovar y disfrutar en Navidad
Estamos en plenas fiestas navideñas, época de tradiciones, tiempo en familia y de regalos. Por eso, en esta última entrada del año de nuestro blog, queremos mostrar cómo la Propiedad Industrial está presente en muchas cosas que nos rodean.
El 21 de diciembre empieza el invierno, y un día después, en España, tiene lugar un rito que sirve de pistoletazo de salida al resto de eventos navideños: el sorteo de la lotería de Navidad.
![]()
Marca denominativa M3711049
Titular: Sociedad Estatal Loterías y Apuestas del Estado.
Este peculiar sorteo tiene varios protagonistas. Los primeros, los alumnos del colegio San Ildefonso, que se preparan a conciencia para templar los nervios ante las cruciales misiones que se les encomiendan: extraer las bolas y cantar de forma armónica los números y premios. Pero hay otras estrellas de color dorado en este evento: los bombos de lotería. Uno grande, de 2,8 metros de altura y 800 kilos de peso que alberga las bolas correspondientes a todos los números, y otro más pequeño, de 70 centímetros de altura y un peso de 400 kilos, que contiene los ansiados premios.
El diseño de ambos bombos es el mismo desde hace más de 200 años y están fabricados de una aleación de cobre, plomo y estaño. En el año 2004, se incorporaron algunas mejoras técnicas, de la mano de la empresa especialista en maquinaria hidráulica y eléctrica del sector naval, Fluidmecánica Sur, para poder aumentar su capacidad sin perder eficacia.

Marca figurativa M3561923
Titular: Sociedad Estatal Loterías y Apuestas del Estado.
Y casi tan célebre como el Sorteo de Navidad es el nombre de Doña Manolita, administración de loterías que Manuela de Pablo fundó en 1904 y que es la que más premios ha repartido en la historia de este sorteo. Doña Manolita tiene varias marcas registradas.
Marca mixta M2989860
Titular: Grupo Adjer S.L.
Marca figurativa: M4117098
Titular: Grupo Adjer S.L.
¡Y tras el sorteo, comienzan las fiestas navideñas! Nos lanzamos a la calle en busca de manjares para servir en las comidas familiares y los regalos de última hora, y paseamos por las ciudades disfrutando de sus plazas y calles engalanadas con luces de distintos diseños. En este campo, destaca una empresa española, el grupo Ximenez Iluminación, ubicada en Puente Genil (Córdoba) que se encarga de la decoración lumínica de más de 600 ciudades de 40 países en los cinco continentes.
Madrid, Vigo y Nueva York, entre otras, lucen brillantes en estas fechas gracias a diseños de alumbrado navideño de esta empresa con más de 75 años de antigüedad.
Titular: Iluminaciones Ximenez S.A.

Titular: Iluminaciones Ximenez S.A.
Titular: Iluminaciones Ximenez S.A.
También decoramos el interior de nuestros hogares. En nuestras casas colocamos el árbol de Navidad con sus luces y decoraciones, nos gusta enviar felicitaciones a amigos y familiares…
En las bases de datos de la Oficina Española de Patentes y Marcas, O.A. (OEPM) podemos encontrar múltiples patentes, modelos de utilidad y diseños industriales relacionados con las decoraciones típicas de Navidad, en especial el árbol, sus adornos, y las postales navideñas como las que os mostramos a continuación:
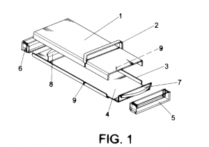
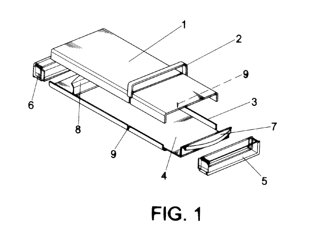
U200700873: Árbol de Navidad iluminado.
U200300833: Árbol decorativo plegable
I0039045: Figuras de adorno de árboles de Navidad y similares.
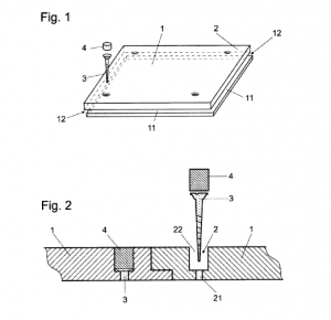
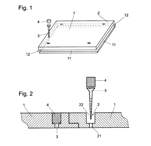
I0155294: Postales de Navidad.
Como veis, hay muchas variaciones inventivas del árbol de Navidad que hoy en día adorna nuestros salones, pero ¿a quién se le ocurrió por primera vez la idea de un árbol artificial? La respuesta es que no se sabe con certeza. Existen varias posibles teorías sobre este invento que permite poder disfrutar de una decoración navideña perenne en el tiempo. Han sido tantas las invenciones relativas a este elemento, que existe un lugar específico del mismo en la Clasificación Internacional de Patentes, como os mostramos aquí.
De esta forma, se encuentran más de 700 patentes en Espacenet clasificadas en el símbolo A47G 33/04, siendo la más antigua del año 1921, y 1 550 patentes en la clasificación A47G 33/06, encontrando que la prioridad más antigua es de 1909.

DE342364C: Luz para árbol de Navidad que consta de un quemador de combustible líquido (1921).
ES1038951U: Árbol navideño desmontable.
ES1220779U: Árbol de Navidad artificial.
Cada época del año tiene sus dulces típicos y la Navidad no iba a ser menos; turrones, polvorones, mantecados, el roscón de Reyes, todos ellos están protegidos por una o varias modalidades de propiedad industrial, así como la maquinaria utilizada para su fabricación o envoltorio.
P200102084 Máquina de fabricación de dulces.
U200302060 Dispositivo cortador de turrón.
¿Sabéis cuál es la marca registrada más antigua de mantecados? Es “Exquisitos Mantecados Escorial Juan Álvarez Sevilla Felipe II”, que se solicitó el 2 de diciembre de 1909.
Marca mixta M0017047
Titular: Confitería Blancanieves Tejedor.
En los últimos años, hemos incorporado entre las actividades que hacemos en estas fechas, patinar sobre hielo, un plan que divierte a mayores y pequeños. En los últimos años se han desarrollado tecnologías para disfrutar del patinaje sobre hielo en cualquier ambiente y temperatura. Son las pistas de hielo ecológicas que están triunfando en todo el mundo, unas planchas de polietileno de elevada densidad molecular lubricadas que ofrecen gran deslizamiento. Permiten disfrutar del patinaje sobre hielo en cualquier época del año sin coste energético alguno.
U200302545: Pista de patinaje para patines de cuchillas.
Tradiciones, tiempo en familia y, por último, regalos. Pero si continuásemos hablando de la propiedad industrial de los juguetes y dispositivos electrónicos, regalos que están en la mayoría de las cartas dirigidas a Sus Majestades los Reyes Magos de Oriente, “nos darían las uvas” antes de terminar este artículo.
Por ello, con esta última entrada del blog del 2021 nos despedimos hasta el año que viene y os deseamos unas felices fiestas y un próspero 2022 lleno de salud, alegría y muchas innovaciones.

















gracias.