![]()
Un año sin ti, Corazón
Este año en el que la ciudad de Valencia será la Capital Mundial del Diseño, queremos hacer nuestro particular homenaje a uno de los padres del diseño moderno de nuestro país. Se trata de Alberto Corazón Climent, el diseñador que el pasado 21 de enero habría cumplido 80 años.
Este madrileño, miembro de la Real Academia de San Fernando y Premio Nacional de Diseño en 1989, era altamente polifacético lo que le hizo desempeñar también trabajos de escultor, fotógrafo, pintor y escritor. Su ingenio y creatividad pronto le hizo despuntar como diseñador adquiriendo un fuerte protagonismo en la industria cultural española. Sus obras son parte de nuestro día a día, sobretodo en relación a logos y marcas que nos rodean desde hace años y continúan visibles a día de hoy. Por ejemplo, ¿reconocéis estas?

M1249593: Organización Nacional de Ciegos Españoles
M3687144: Universidad de Educación a Distancia
Y aún hay más…, el logo de la Universidad Autónoma de Madrid, el símbolo de Cercanías de RENFE o el de la editorial ANAYA cuyos libros de texto han pasado por las manos de todos en algún momento de nuestra etapa escolar. Son logos, que, habiendo sido modificados a lo largo de los años, la esencia creada por Alberto Corazón, persiste.
Cuando España se abría al mundo y a la democracia, existía una necesidad de modernización en todos los sentidos y Alberto Corazón, junto con otros de su generación, supo plasmar diseños cotidianos que han perdurado en el tiempo.
Desde los años ochenta hasta la primera década del 2000, creó la identidad corporativa de numerosas instituciones y empresas destacando los logos para Paradores de Turismo (1983), la Organización Nacional de Ciegos Españoles (1984), RENFE Cercanías (1988), la Agencia Española de Protección de Datos (2003-2004), la Casa del Lector del Matadero de Madrid (2005 y MAPFRE (2007).
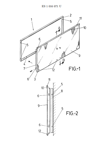
Esta percepción de lo cotidiano no sólo se reflejó en las marcas que diseñó. También protegió sus creaciones como diseños industriales y modelos de utilidad. En este sentido, destacamos un trabajo de identidad corporativa muy importante realizado para RENFE Cercanías que consistió en tipografías, bancos, marquesinas, etc., algunas de las cuales os mostramos a continuación:
ES1015071U : Vitrina expositora
I119637: Banco
I0122002: Marquesinas
I0123545: Papelera
No queremos terminar este artículo sin hablar del famoso teléfono Domo, diseñado para Telefónica, tras ganar un concurso internacional. Se inspiró en una domus romana y cogió prestado su nombre. Fue una gran revolución de la telefonía doméstica de aquel entonces, cuando aún nadie hacía presagiar la llegada de los smartphones, que aunaba ergonomía, un uso sencillo e intuitivo y mejoraba la funcionalidad dando mayor accesibilidad a personas zurdas, con dificultades de firmeza en el pulso y niños pequeños. Unas soluciones técnicas a unos problemas técnicos.
Muchos lo llamaron el primer teléfono inteligente.
I0142818: Teléfono doméstico
La imagen con la que se empezó a conocer a España allende nuestras fronteras es, en parte, gracias a él. Siempre defendió que “el diseño es propio de sociedades avanzadas y parte de la cotidianeidad”, dos términos que no se deben separar.
“El diseño es una herramienta para mejorar nuestra relación con lo que nos rodea”.
Gracias, Corazón.








