![]()
Baloncesto y Propiedad Industrial
Coincidiendo con la celebración en España del Mundial de Baloncesto, la Oficina Española de Patentes y Marcas realiza una campaña divulgativa con patentes y marcas relacionadas con este deporte.
Si introducimos la palabra “baloncesto” en la base de datos de INVENES, obtenemos 529 resultados. Este número aumenta hasta 4.142 resultados si ampliamos la búsqueda a invenciones recogidas en ESPACENET con la palabra clave “basketball”. Comprobamos de esta manera, con una búsqueda muy simple y directa, que la tecnología relacionada con este deporte se encuentra protegida por multitud de patentes. De hecho, tanto la Clasificación Internacional de Patentes (CIP), como la Clasificación Cooperativa de Patentes (CCP, más desarrollada que la anterior), contemplan lugares específicos para el baloncesto, como se puede ver en los siguientes ejemplos.
CIP y baloncesto
CPC y baloncesto
Durante estas dos semanas, se publicarán en las redes sociales de la OEPM (Twitter y Facebook, con la etiqueta #BaloncestoOEPM), patentes nacionales e internacionales relacionadas con diferentes ámbitos de este deporte como pueden ser el balón, los aros, los tableros, el parquet, juegos de mesa o las zapatillas.
Entre los documentos recuperados se encuentra el primer balón sin costuras, desarrollado por Spalding. Esta empresa fue la primera que creó un balón específico para baloncesto en 1894, 3 años después de que James Naismith propusiera las 13 reglas básicas de este deporte.
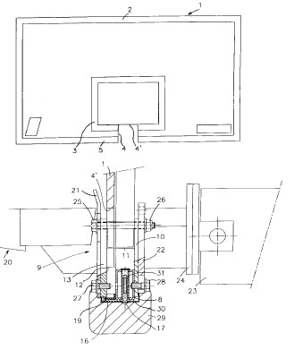
A continuación podemos ver algunos ejemplos más de patentes relacionadas con el balón, el calzado o tableros irrompibles, a prueba del mismísimo Serge Ibaka.
Tablero irrompible
Ver vídeo: https://www.youtube.com/watch?v=nBpyBnsJ7y8
También se irán publicando marcas relevantes, ya sea de los propios jugadores, de federaciones o de cualquier otro aspecto relacionado con el mundial. Por ejemplo, todos los elementos del cartel promocional del mundial están protegidos mediante marcas, así como las marcas personales de los propios jugadores, o el mismo logo de la Federación Española de Baloncesto:
Elementos del cartel promocional y marcas de la FIBA
Algunas marcas de Pau Gasol
Marca protegida de Ricky Rubio
Marca protegida de la Federación Española de Baloncesto
Por tanto, además de porcentajes, tiros libres y tapones, hemos podido comprobar que la Propiedad Industrial juega su papel en el Mundial de Baloncesto.










Felicitaciones. Se pone de manifiesto la presencia de la propiedad industrial en todos los ámbitos de la vida diaria. Lástima la falta de patentes españolas. Parece que lo nuestro son las marcas.