![]()
ALBERTO VÁZQUEZ FIGUEROA Y LA MAYOR AVENTURA DE SU VIDA
Esta nueva entrada del blog está dedicada a otro escritor que mantuvo una intensa relación con el mundo de la invención y las patentes. De hecho, en una entrada anterior, donde se analizaban algunos inventores que coquetearon con el mundo de la invención y de las patentes, un lector nos llamaba la atención sobre nuestro olvido del escritor Alberto Vázquez Figueroa. Es nuestro propósito subsanar ese error.
Alberto Vázquez Figueroa recogió su intensa experiencia con el agua y su desalación en el libro “El agua prometida” (Plaza & Janés) que terminó de escribir hace cerca de 20 años (11 de noviembre de 1995). El que escribe estas líneas recuerda haber asistido a una conferencia impartida por Alberto Vázquez Figueroa a los examinadores de patentes de la OEPM a finales de la década de los noventa. Los recuerdos son vagos pero aún permanece la profunda impresión que dejó el entusiasmo con el que el inventor describía y defendía la viabilidad de su invención. La lectura de su libro casi 20 años después permite comprender con claridad las razones de dicha vehemencia. La primera parte del libro se remonta a su infancia (nació en 1936), la cual como en tantos otros casos se vio afectada dramáticamente por la guerra civil y sus consecuencias. A raíz de estos acontecimientos familiares, vivió varios años en el Sáhara Occidental, entonces posesión española, más concretamente en el Cabo Juby. Allí quedó profundamente impresionado por la paradoja que supone sufrir sed frente a la inmensidad del océano salado. También conoció que las tortugas marinas poseen unas glándulas que desalan el agua marina y permiten que sus huevos no sean salados.
Su vida siempre ha estado ligada al agua; natación en un club de Tenerife durante su adolescencia y uno de los primeros buzos con escafandra autónoma en España, trabajando varios años en el buque escuela “Cruz del Sur”. De sus tiempos de buceo recordaba perfectamente que 10 metros de columna de agua equivalían a una presión de 1 Kg/cm2, es decir a una atmósfera. Posteriormente y por casualidad, averiguó que el agua potable consumida en la isla de Lanzarote se obtenía haciendo pasar agua marina a través de membranas de ósmosis inversa a una presión de 70 atmósferas. La combinación de estas dos informaciones constituyó la semilla de su invención, que muy simplificadamente consistía en una columna de 700 metros de agua bajo la cual se encontrarían las membranas de ósmosis inversa. Se puso en contacto con diversos ingenieros especializados en el tema y recibió la respuesta de que era una “soberana estupidez” pero que funcionaba. En algunas instancias oficiales como el CEDEX (Centro de Estudios y Experimentación de Obras Públicas) tuvo una acogida negativa con argumentos de falta de rentabilidad. La primera solicitud de patente se presentó con fecha 07/04/1995 y número de solicitud P9500705.
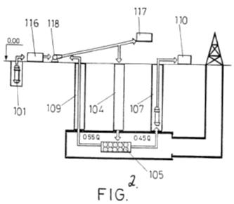
Al proyecto inicial se le añadió un perfeccionamiento, consistente en situar un depósito de agua a una altura de unos 70 metros sobre el nivel del mar, de manera que la salmuera resultante del proceso de separación pudiera alcanzar la superficie sin necesidad de bombeo. Dicho perfeccionamiento fue objeto de la patente ES2101659B1, presentada con fecha 04/08/1995. Reivindicando la prioridad de ambas solicitudes se presentó la solicitud internacional PCT de número de publicación WO9631436, a partir de la cual se obtuvieron diversas patentes nacionales y regionales como la EP0764610B1.
Figura del perfeccionamiento donde se aprecia el depósito elevado (117)
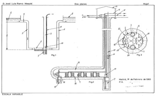
El 24 de septiembre de 1995 se publicó en el diario “El País” un artículo denominado “las desalinizadoras fantásticas” donde se afirmaba que la invención ya había sido patentada por el ingeniero José Luis Ramo Mesple en 1980, en concreto se trataba del documento de patente de número ES488215, que no llegó a llevarse a la práctica debido a argumentos relacionados con su falta de viabilidad y a que no se consideró interesante tras la bajada del precio del petróleo en los años 80. Asimismo, en el artículo se mencionaban unas pruebas realizadas en Almería con un proyecto similar aunque en el mar y que fracasaron por dificultades técnicas y la necesidad de una elevada inversión.
Figura de la patente ES488215
A pesar de que inicialmente se sintió muy afectado por el artículo, según se observa en su carta al director de título “dolor y humillación” , Alberto Vázquez Figueroa no desistió y de hecho en estos últimos 20 años no ha cesado en sus intentos para que la invención se pusiera en práctica. Diversos políticos y altos funcionarios mostraron su interés por la invención en varias ocasiones pero finalmente siempre había algún problema que lo impedía. En su libro, enumera alguno de los factores que según su criterio se oponían al éxito de su invención:
– Las compañías embotelladoras de agua.
– Las empresas constructoras.
– Las compañías eléctricas.
– El “sistema”.
Además de las dos patentes antes mencionadas, Alberto Vázquez Figueroa figura como inventor en otras seis patentes relativas a medios de filtración y a un procedimiento de desalación mediante evaporación.
Alberto Vázquez Figueroa concluye su libro definiendo su experiencia con la invención como la “mayor aventura de su vida”. Probablemente muchos otros inventores podrían afirmar lo mismo.




Es perfectamente viable, Vazquez Figueroa lo ha puesto en marcha y demostrado que es factible.
A William Cano le diría que le busque, Vazquez Figueroa es una persona muy conocida, es un escritor de estos que cuando no sabe que hacer, escribe un libro y son 9 de 10 muy buenos.
Roberto, si lo has leido te darás cuenta.
En general, y por si no se han dado cuenta, vivimos gobernados por una serie de absurdos ante los que tenemos que arrodillarnos, enfrentarnos casi siempre supone una pérdida mayor, valga como ejemplo del absurdo el empeño de evitar la contaminación que supone el hecho de regalar las bolsas de plástico del super, cosa que se evita con su venta …??? y el tre,endo despilfarro de plásticos en todo, absolutamente todo lo que se compra. Cuantos intereses creados hay en esa producción bestial de plásticos???
En su libro aparecen las patentes, los planos de sus diferentes inventos, funcionan o es sólo una invención?
Estamos en Huaquillas El Oro Ecuador se puede hacer este proyecto aquí? Alberto Vázquez Figueroa puede comunicarse con nosotros ? le agradeceríamos un mundo.Gracias de antemano.
Estimado Javier:
Esta entrada es una reseña sobre una novela de Alberto Vázquez Figueroa. En ningún caso se entra a valorar si la invención funciona o no.
Estimado Javier:
Esta entrada del blog es una reseña de una novela de Alberto Vázquez Figueroa. No se entra a valorar si su invención funciona o no.
Es la típica patente sobre el movimiento continuo, alguien con mínimos conocimientos de física sabe que no funciona ¿Qué pinta la OEPM en toda esta palabrería?
[…] experiencia con la invención se recoge en su libro “El agua prometida”, al cual se dedicó una anterior entrada del […]
La historia de Vázquez-Figueroa demuestra que no es preciso ser un experto para convertirse en inventor, sino tener convicción en lo que se ha creado. lamentablemente, ello no es suficiente.
Me siento totalmente identificado con este artículo. Yo también he dedicado los últimos 10 años de mi vida a una invención que de explotarse supondría una revolución en la generación de energía, pero el «sistema» ha utilizado todas sus herramientas contra mí, hasta el punto de que me encuentro enfermo y arruinado…..