![]()
Un invento y una patente que revolucionaron el comercio mundial
En esta ocasión dedicamos nuestra entrada a uno de esos inventos que nos acompañan desde hace muchos años, lo cual nos lleva a pensar que siempre estuvieron ahí, pero no, hubo un inventor, una patente y mucho más antes de su popularización. Se trata del gran contenedor normalizado, contenedor ISO o marítimo, ese que vemos en los grandes centros de logística, en los puertos, sobre camiones tipo tráiler y en los trenes de carga.
Aunque con anterioridad a la segunda guerra mundial hubo varios intentos en Europa y los Estados Unidos de implantar un sistema de contenedores que evitara la necesidad de numerosas cargas y descargas de las mercancías, sustituyéndolas por un contenedor que era el que cambiaba de medios de transporte, ninguno de ellos llegó a establecerse. Fue el empresario estadounidense Malcolm Purcell McLean el que creó el contenedor que fue adoptado como norma internacional y que podemos contemplar por doquier.
A comienzos de los años 50, McLean ya poseía una compañía de transporte por carretera a lo largo de la costa este de los EE.UU. Se estaba planteado transportar en barcos los camiones, en los buques que entonces se llamaban “trailerships”, pero como se aprecia en la foto, no se aprovechaba convenientemente el espacio de cubierta.
Entonces, se le ocurrió que, en lugar de cargar el chasis de los camiones, se trasladaría únicamente el contenedor propiamente dicho, la caja. Patentó una disposición de dichas cajas sobre la cubierta de un barco de transporte a granel de líquidos, vendió su compañía de transporte por camión y compró dos compañías de transporte marítimo para poner en práctica su proyecto. La patente en cuestión es la estadounidense de número US2853968 y según se puede observar en las figuras, se refiere a una fijación de los contenedores o cajas sobre la cubierta de un buque.
Figuras de la patente US2853968
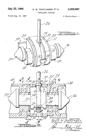
Posteriormente, McLean comenzó a trabajar con el ingeniero Tantlinger. A lo largo de sus cerca de 80 patentes, Tantlinger fue desarrollando toda la tecnología relacionada con los contenedores y su manipulación, como por ejemplo el llamado “twistlock”, que se emplea en estos contenedores normalizados para su fijación a los medios de transporte y para facilitar su manipulación por las grúas.
Figuras de la patente US3456967
Este año se cumplen 60 del primer transporte por barco, utilizando esta disposición de contenedores, en abril de 1956 entre Nueva Jersey y Houston (Texas). Ya en este mismo blog, hablábamos de ¿por qué algunas empresas regalan sus patentes? y se ha comentado mucho la liberación de patentes de la empresa Tesla. Pues bien, Malcolm McLean fue un pionero en este campo. En cuanto comenzó a explotar su invención y ampliar su flota de barcos, se dio cuenta que sus posibilidades de expansión se veían frenadas por la falta en muchos puertos de grúas adecuadas para la descarga de sus contenedores. Malcolm Lean liberó sus patentes y la Organización Internacional de Estandarización (ISO) adoptó sus contenedores en 1968, aunque en esta decisión tuvo gran influencia el ejército de los EE.UU., que en aquellos años intervenía en Vietnam y necesitaba un transporte eficiente de su material de guerra. Indudablemente, su empresa Sealand estaba más que preparada para la nueva norma y durante muchos años tuvo unos resultados económicos espectaculares.
Normas ISO:
ISO 338 definió la terminología y las dimensiones. (Enero de 1968)
ISO 790 definió cómo se deberían identificar los contenedores (Julio de 1968)
ISO 1897 definió los tamaños de los contenedores (Octubre de 1970)
La utilización de contenedores normalizados, basados en la invención de McLean, está detrás de la explosión en el comercio mundial que se ha vivido a lo largo de los últimos 50 años. Según se afirma en este artículo de “The Economist”, su influencia sobre el aumento de los intercambios comerciales ha sido mucho mayor que el ejercido por los acuerdos de libre comercio.
By Photocapy (Flickr) [CC BY-SA 2.0 (http://creativecommons.org/licenses/by-sa/2.0)],
via Wikimedia Commons
Las siguientes cifras proporcionan una idea del avance que para el comercio mundial ha supuesto la utilización de contenedores normalizados desde hace 60 años:
– El coste del transporte marítimo ha disminuido en más de un 90%
– En 1956 el coste del transporte marítimo era de 5,86$ por tonelada, mientras que ahora es de unos 0,16$ por tonelada-
– En 1966 un 1% de los países tenían puertos para contenedores, lo cual aumentó a un 90% en 1983.
– Antes de la aparición de los contenedores, se podían cargar 1,3 toneladas por hora. Ello aumentó a más de 30 toneladas por hora en 1970.
– Hay más de 17 millones de contenedores normalizados en el mundo.
– Hay más de 6000 buques de contenedores en servicio.
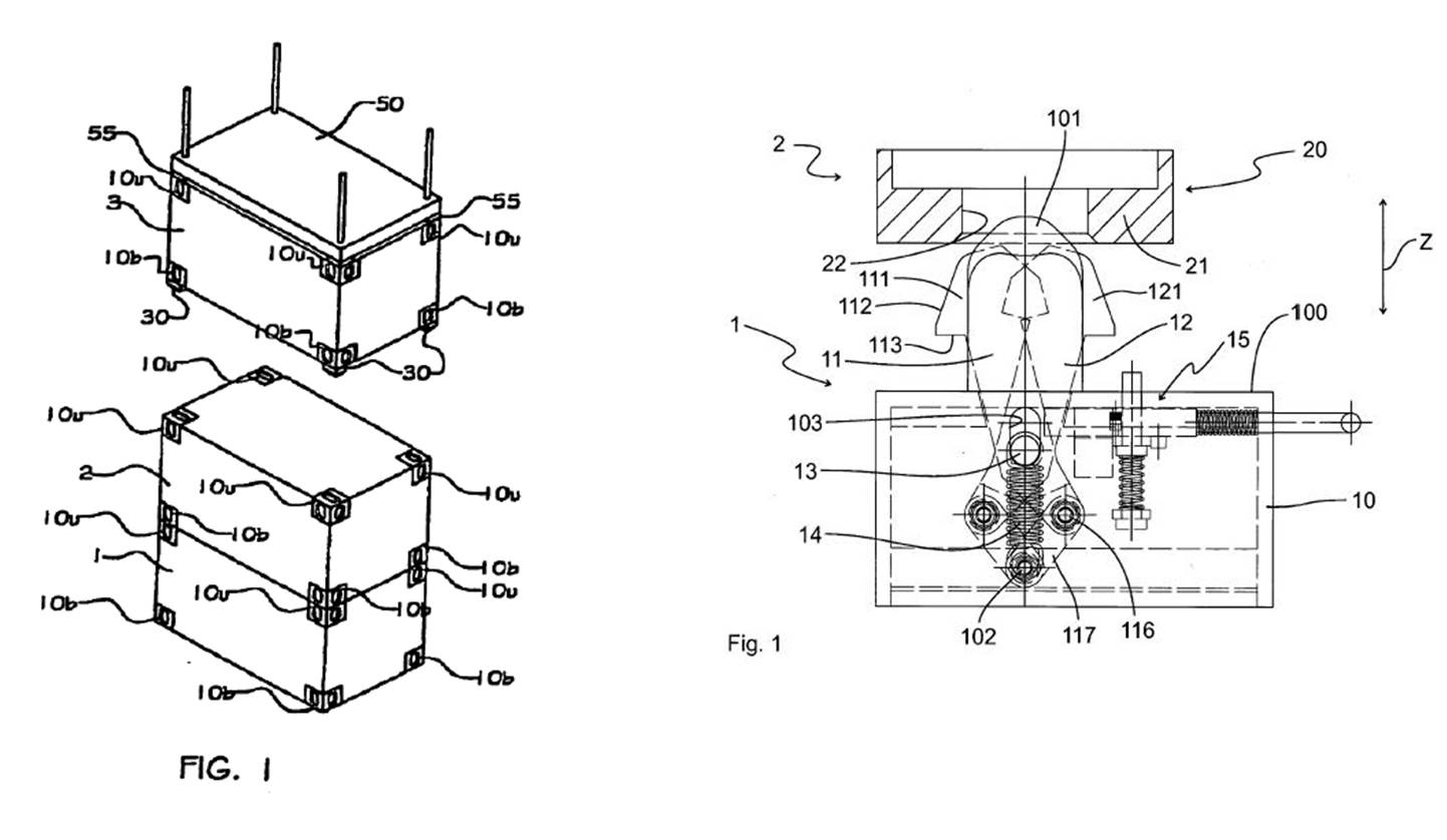
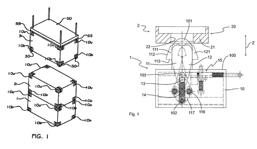
Todavía hoy en día se sigue innovando en ciertos aspectos de estos contenedores, sobre todo en los medios de anclaje.
Figura de la patente ES2567731 Figura de la patente ES2480993
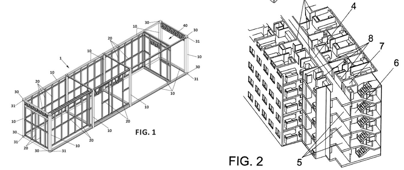
En los últimos tiempos se presentan con frecuencia solicitudes de patente sobre sistemas de construcción modulares basados en la utilización de estos contenedores normalizados.
Figura de la solicitud ES2551251A1 Figura de la solicitud ES2412280A2
En definitiva, el contenedor ISO o marítimo fue una invención sin demasiada complicación técnica y que en pocas décadas ha hecho más por el comercio internacional que las interminables discusiones sobre tratados de libre comercio que se han sucedido a lo largo de las últimas décadas.


También se pueden construir piscinas con contenedores marítimos que están muy chulas y la verdad se pueden reutilizar los containers en desuso para todo!
La verdad que este tipo de inventos parecían obvios, pero a día de hoy lo han petado en la actualidad. Los contenedores marítimos a día de hoy son indispensables a la hora de enviar grandes cargas de mercancía a otros países y también se utilizan para la construcción de viviendas.
Gracias por dar este tipo de información 🙂
Innovaciones que parecían obvias pero no. Muy interesante lectura para los que nos dedicamos a los camiones y tenemos algo de relación con el mundo de la logística del transporte.
¡Qué sorpresa! La invención de los contenedores y los desarrollos que le acompañaron es una de esas innovaciones que, por ser omnipresentes en el transporte de mercancías, parecen evidentes y que siempre han estado ahí.
Sorprende el impacto real sobre el comercio mundial y … la inteligencia de McLean al liberar anticipadamente la protección de las patentes, lo que a largo plazo le proporcionó enormes beneficios, muy superiores al mantenimiento de la exclusiva.
Excelente. Artículo *****.
[…] Un invento y una patente que revolucionaron el comercio mundial Es uno de esos inventos que nos acompañan desde hace muchos años, lo cual nos lleva a pensar que siempre estuvieron ahí, pero no, hubo un inventor, una patente y mucho más antes de su popularización. Se trata del gran contenedor normalizado, contenedor ISO o marítimo, ese que vemos en los grandes centros de logística, en los puertos, sobre camiones tipo tráiler y en los trenes de carga. Aunque con anterioridad a la segunda guerra mundial hubo varios intentos en Europa y los Estados Unidos de implantar un sistema de contenedores que evitara la.. etiquetas: contenedor, patente, comercio, revolución, mundial, marítimo, tren usuarios: 1 anónimos: 0 negativos: 0 compartir: sin comentarios cultura karma: 20 (adsbygoogle = window.adsbygoogle || []).push({}); (adsbygoogle = window.adsbygoogle || []).push({}); […]