![]()
EL ALAMBRE DE ESPINO: LA INVENCIÓN QUE ACABÓ CON LOS COWBOYS Y LOS GAUCHOS
Esta entrada está dedicada a una invención, en principio, bastante simple tecnológicamente, pero que introdujo unos cambios impresionantes en la economía, sobre todo de los nuevos estados del continente americano. Se trata del alambre de espino y por su impacto económico se podría comparar con otra invención que apareció en esta sección cierto tiempo atrás, el contenedor marítimo normalizado.
Se suele decir que siempre que hay un problema técnico, hay una invención a punto de aparecer a la vuelta de la esquina. Si algo era evidente en las grandes llanuras de Norteamérica y de Sudamérica era la necesidad de un tipo de vallado que permitiera delimitar de manera eficaz la propiedad privada. Por lo que se refiere a Norteamérica, en 1862, el presidente Lincoln había firmado la llamada “Homestead Act” de 1862, la cual establecía que cualquier ciudadano honesto (“incluyendo mujeres y esclavos liberados”) podía reclamar la propiedad de hasta 65 hectáreas de tierra, siempre que construyera en ella su hogar y la trabajara durante al menos 5 años, pudiendo probar la mejora conseguida.
Sin embargo, para ello se precisaba un alambrado que pudiera delimitar el terreno eficazmente. Los agricultores y ganaderos lo habían intentado mediante la plantación de arbustos espinosos, pero eran de crecimiento lento y no permitían ningún cambio, una vez habían crecido. Por otro lado, los alambrados tradicionales eran derribados fácilmente por el ganado.
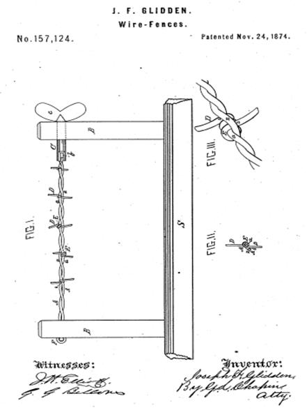
Fue para resolver este problema que apareció el invento protagonista de esta entrada. Aunque ya en 1865, el inglés Richard Newton había llevado un primer tipo de alambre de espinos a Argentina y varias invenciones se protegieron en Francia, se considera que la patente que protegió el diseño de alambre que finalmente se impuso en todo el mundo fue la US157124, obtenida por Joseph Glidden de Illinois en 1874.
Reivindicación de la patente US157124
Figuras de la patente US157124
Fue el empresario John Warne Gates, también conocido como “Bet a million” el que impulsó la producción industrial de este tipo de alambre, fundando la empresa “Southern Wire Company”. La fabricación industrial se ejecutó mediante la maquinaria protegida por la patente US295513.
La explotación industrial de la invención fue realmente intensiva. Mientras que en 1874, el año de concesión de la patente, se fabricaron 50 km de alambre de espino, 6 años más tarde fueron 420.000 km, suficiente para rodear la tierra más de 10 veces en el Ecuador.
Las implicaciones de esta invención fueron de un gran alcance. Con anterioridad, la gran planicie norteamericana era una vasta superficie por la que se desplazaban los nativos norteamericanos y los vaqueros cuyo ganado pastaba libremente. Los agricultores, que querían adueñarse de terreno en aplicación de la “Homestead Act”, necesitaban un tipo de vallado que evitara que el ganado pisoteara sus cosechas y además en esa zona no se disponía de suficiente madera. La aparición del alambre de espino solucionó ese problema, pero al mismo tiempo dio lugar a sangrientas disputas, con bandas cuyo objetivo era la destrucción de los vallados, tiroteos y las correspondientes víctimas por arma de fuego. En fin, la típica lucha entre ganaderos trashumantes y agricultores que tantas películas del género “western” ha protagonizado.
En España, la primera patente sobre un alambre de espino que se ha encontrado en la base de datos del archivo histórico es la de número ES215, presentada en 1879 por el ciudadano de New York William Donison Hunt.
Figuras de la patente ES215 (15/01/1879)
Alambre de espino moderno (Fuente: Wikipedia)
En diciembre de 1885 los llanos del sur de los Estados Unidos se vieron azotados por unas fuertes ventiscas, que obligaron al ganado a emigrar hacia el sur, encontrándose con numerosos vallados de alambre de espino que les causaron serias heridas, lo que junto con el frío del que no pudieron escapar, causó la pérdida de miles de cabezas de ganado. Es fácil comprender que este nuevo alambrado fuera odiado tanto por los “cow-boys” como por los nativos norteamericanos, que lo conocían como “The Devil’s rope” o la “cuerda del diablo”.
La invención del alambre de espino permitió la aplicación generalizada en gran parte del mundo de la “teoría de la propiedad-trabajo”, según la cual, la propiedad de la tierra se obtiene mediante su trabajo, lo cual legitimaría la apropiación de la tierra antes ocupada por nativos cazadores y recolectores por parte de colonos de origen europeo. Asimismo, esta teoría es la base de la defensa de la propiedad privada como fundamento del desarrollo económico
Aunque el impacto del alambrado en los Estados Unidos de Norteamérica es el más conocido, el impacto fue similar en otros territorios cuya geografía consistía en grandes llanos donde el ganado pastaba libremente, como era el caso de Argentina, Uruguay y el sur del Brasil.
En Uruguay la llegada del alambrado de espino se conoció como “la revolución del alambrado”. La posibilidad de delimitar las propiedades rurales, permitió la modernización del campo, gracias a la afirmación de la propiedad privada, lo cual ahorraba mano de obra porque el ganado no podía huir y perderse, favorecía la crianza de ovinos y vacunos porque posibilitaba la cruza controlada y además dificultaba los robos. Entre 1872 y 1882 se alambraron 2/3 de las estancias uruguayas. Asimismo, como había pasado en Norteamérica con los “cowboys”, el alambrado generalizado del campo supuso la desaparición del “gaucho” y la transformación de la mano de obra en peones asalariados.
Conclusión
Es difícil encontrar una invención de simplicidad tan aparente y que tanto haya influido sobre la historia económica del mundo occidental.
Esta entrada está basada en gran medida en el siguiente programa de la BBC: “barbed wire; 50 things that made the modern economy”
Leopoldo Belda
