![]()
Centenario de la visita a España de Albert Einstein, un genio muy vinculado al mundo de las patentes
El 21 de febrero se cumplen 100 años de la llegada a España de Albert Einstein para realizar una visita que comenzó en Barcelona y continuó durante dos semanas en Zaragoza y Madrid, concluyendo el 11 de marzo de 1923. Los medios de comunicación están dedicando espacios a conmemorar este aniversario y en la OEPM (Oficina Española de Patentes y Marcas) queremos recordar esa visita, pero resaltando la relación de Einstein con el mundo de las patentes, la cual fue muy estrecha.
Cuando la visita tuvo lugar, en 1923 Albert era ya una celebridad mundial, su teoría de la relatividad general se había publicado en 1915 y había obtenido el premio Nobel en 1922, especialmente por su explicación del efecto fotoeléctrico. Como afirma el historiador Thomas F. Glick en el prólogo a la segunda edición de su libro de referencia “Einstein y los españoles. Ciencia y Sociedad en la España de Entreguerras”, “cuando Einstein llegó a España en 1923 era ya una figura mítica, el símbolo de la ciencia misma”.

Fotografía con ocasión de la investidura como doctor “honoris causa” de Albert Einstein por la Universidad Central de Madrid (1923), Fuente: Biblioteca Histórica Marques de Valdecilla
Según las distintas crónicas, la visita se podría calificar de surrealista, centrándose en lo folclórico y relegando la ciencia, puesto que sus propuestas eran muy avanzadas para la época y de muy difícil comprensión. A lo largo de su visita fue aclamado como hoy en día lo sería una estrella del pop. En Madrid una castañera gritó a su paso: “¡Viva el inventor del automóvil!”, como recoge Thomas Glick en su libro. También en el mismo libro se recogen diversas historietas o viñetas inspiradas por la visita de Einstein y una de ellas muestra la complejidad que las teorías de Einstein suponían para los españoles de hace 100 años:

Al concluir su visita y durante una conferencia en el Ateneo de Madrid el biólogo marino Odón de Buen le ofreció presidir una expedición hispano-mexicana organizada para la observación del eclipse de sol que iba a tener lugar el 10 de septiembre de 1923 en México, pero muy amablemente declinó la invitación.
Aunque entre sus visitas no figurara ninguna al Registro de la Propiedad Industrial, entonces sito en el palacio de Fomento, no habría estado fuera de lugar, dada su estrecha relación con las patentes.

Palacio de Fomento (Madrid) a finales del siglo XIX (Fuente: https://edicioneslalibreria.com/la-foto-de-la-semana-palacio-de-fomento/)
El padre de Albert, Hermann Einstein, era ingeniero y trabajaba en el sector industrial en Ulm (Alemania) donde tenía una pequeña empresa de instalaciones de agua y gas con su hermano Jakob. En 1880 la familia se mudó a Múnich donde crearon una fábrica electroquímica de nombre “Elektrotechnische Fabrik J. Einstein and Cie” que producía dinamos, lámparas de arco, y equipos de medición. El cambio de la corriente continua a la alterna supuso el declive del negocio, que se mudó a Pavía (Italia) en 1894 donde también fracasó y terminó cerrando.

Publicidad de la empresa del padre y del tío de Albert Einstein
Su tío Jakob figura como inventor en una serie de patentes sobre invenciones relacionadas con su negocio, una en Suiza CH2131A y 6 en Alemania: DE41824, DE53207C, DE53546C, DE53846C, DE60361C, DE74429. Es de suponer, por tanto, que ya en su infancia y adolescencia Albert Einstein era consciente de la existencia e importancia de las patentes.
Albert Einstein había estudiado en la Escuela Técnica Federal de Zúrich desde 1896 a 1900 y obtuvo el título de profesor de matemáticas y ciencias. Trabajó como profesor particular y su siguiente encuentro con las patentes se produjo cuando en 1902 y gracias a la influencia del padre de un compañero de estudios, obtuvo un puesto como “experto técnico de tercera” en la Oficina de Patentes Suiza, ubicada en Berna. En 1904 terminó su período de prueba y logró un puesto permanente. Se afirma que el período “de prueba” se prolongó porque su jefe consideraba que para superarlo debía familiarizarse más con la ingeniería mecánica. En 1906 logró un ascenso a “experto técnico” de segunda. En ambos puestos de trabajo examinaba la patentabilidad de invenciones objeto de solicitudes de patente.
En la web del Instituto Federal Suizo de la Propiedad Intelectual (IGE/IPI) figura una lista de patentes que probablemente examinó Albert Einstein. Entre ellas se encuentran un clasificador de gravilla, una estación meteorológica, una máquina de escribir eléctrica, o un motor de corriente alterna. La variedad de campos técnicos a los que pertenecen las invenciones nos indica que como examinador de patentes no estaba muy especializado y tenía que evaluar invenciones pertenecientes a una gran variedad de campos tecnológicos, como ocurre aún hoy en día en muchas Oficinas de Patentes, con la excepción de las conocidas como IP5, donde los examinadores están muy especializados. También se encuentran en la documentación proporcionada por el IGE/IPI unas objeciones a una de las solicitudes de patentes , las cuales podrían haber estado redactadas por Albert Einstein.
Su trabajo en la Oficina de Patentes le proporcionó una gran estabilidad económica, la cual le permitió casarse con su compañera de estudios Mileva Marić. También era un genio en el aprovechamiento del tiempo. Se afirma que era capaz de realizar su trabajo en la Oficina de Patentes en cuatro horas y que dedicaba el resto del día a múltiples actividades, como realizar su tesis doctoral, tocar el violín y sobre todo dedicarse a la investigación en el campo de la física. En la Oficina de Patentes debía permanecer ocho horas diarias y parte de este tiempo una vez terminado el examen de patentes lo dedicaba a la redacción de sus teorías en pequeños papelitos que camuflaba entre la documentación de patentes.

Albert Einstein en Berna en 1905: Fuente: ETH-Bibliothek-Zürich, Bildarchiv / |
Edificio de la Oficina de Patentes donde Einstein trabajó. Fuente: ETH-Bibliothek-Zürich, Bildarchiv |
El año 1905 puede considerarse el más fértil de su vida, pues además de terminar su tesis doctoral, la cual fue inicialmente rechazada, publicó cuatro artículos de gran transcendencia para la física:
- On a heuristic viewpoint concerning the production and transformation of light. Annalen der Physik 17 /1905) 132-148. Donde propuso la idea del cuanto de energía y explicó el efecto fotoeléctrico.
- On the movement of small particles suspended in stationary liquids required by the molecular theory of heat, Annalen der Physik 17 (1905) 549-560. Su primer artículo sobre el movimiento Browniano.
- On the electrodynamics of moving bodies, Annalen der Physik 17 (1905) 891-921. Su primer artículo sobre la relatividad especial.
- Does the inertia of a body depend upon its energy content?” annalen der Physik 17 (1905) 639-641 Su Segundo artículo sobre la teoría de la relatividad, donde se formuló la fórmula E=mc2
Asimismo, años después relató haber tenido el pensamiento más afortunado de su vida en 1907 sentando en su silla en la Oficina de Patentes de Berna, que consistía en que “para un observador en caída libre desde el tejado de una casa no hay campo gravitacional”. En 1909 dejó su trabajo en la Oficina de Patentes y entró como profesor de física teórica en la Universidad de Zúrich.

Texto de la placa:
“El origen de todos los logros técnicos es la curiosidad divina y el instinto lúdico del investigador que trabaja y piensa, así como la fantasía constructiva del inventor técnico«. Albert Einstein
Placa en la sede del IGE/IPI hasta 2007
Indudablemente Albert Einstein (elegido por la revista TIME como “persona del siglo XX”) ha sido hasta la fecha el examinador de patentes más celebre, aunque quizás no fuera el mejor examinador de patentes, como insinúa la Oficina de Patentes Alemana, DPMA, dado el elevado número de actividades con las que compaginaba su labor de examen. De algunas declaraciones posteriores de Albert Einstein se desprende que guardaba muy gratos recuerdos de sus años en Berna y en la Oficina de Patentes, a la que en alguna ocasión se refirió como “aquel claustro mundano en el concebí mis ideas más bonitas”.
A pesar de haber abandonado la Oficina de Patentes, Einstein se mantuvo en contacto con las patentes, y de hecho intervino como perito designado por el Tribunal en una serie de procedimientos judiciales sobre infracción de patentes en relación con invenciones relativas a girocompases o brújulas que utilizan giroscopios. En el primer pleito en el que intervino se enfrentaban el inventor y empresario alemán Hermann Anschutz-Kaempfe y el estadounidense Ambrose Sperry. Dentro de las labores habituales de un perito, Einstein tuvo que redactar informes técnicos, inspeccionar productos y declarar en juicios. El pleito principal lo ganó la empresa alemana, en el contexto bélico de la primera guerra mundial. Asimismo, intervino en dos pleitos posteriores sobre girocompases y en los que la empresa de Anschutz-Kaempfe demandó a otras empresas por infracción de sus patentes.
Hermann Anschütz-Kaempfe y Albert Einstein desarrollaron una amistad y en esta carta Hermann le informa a Albert sobre el desarrollo de uno de los pleitos y sobre perfeccionamientos en sus girocompases. Einstein era aficionado a la navegación y como muestra la siguiente fotografía salió a navegar con Hermann Anschütz-kaempfe en alguna ocasión.

Albert Einstein y Hermann Anschütz-Kaempfe en Kiel (A principio de la década 1920-30) Fuente: Leo Baeck Institute
Para completar su trayectoria en el mundo de las patentes, Albert Einstein también figura como inventor en una serie de patentes, concedidas en Alemania, Suiza, Austria, Francia, Gran Bretaña, Hungría y los Estados Unidos. La mayoría en relación con el sector de la refrigeración:
| Número | Fecha de publicación | Inventores | Título |
| FR647838 | 01.12.1928 |
Leo Szilard, Albert Einstein |
Machine réfrigérante avec pompage du liquide par élévation intermittente de la pression de vapeurs |
| FR670428 | 28.11.1929 |
Leo Szilard, Albert Einstein |
Machine frigorifique |
| GB282428 | 15.11.1928 |
Leo Szilard, Albert Einstein |
Improvements relating to refrigerating apparatus |
|
|
15.03.1928 |
Leo Szilard, Albert Einstein |
Refrigerating machines in which the pumping of liquid is effected by intermittently increasing the vapour pressure |
|
|
23.02.1928 |
Leo Szilard, Albert Einstein |
Refrigerating machine with organic solvent |
| GB344881 | 03.03.1931 |
Leo Szilard, Albert Einstein |
Pumps, especially for refrigerating machines |
|
|
11.11.1930 |
Leo Szilard, Albert Einstein Solicitante: Electrolux |
Refrigeration |
| AT133386 | 26.05.1933 |
Leo Szilard, Albert Einstein |
Verdichter für Kältemaschinen (Compresores para máquinas frigoríficas) |
| CH140217 | 31.05.1930 |
Leo Szilard, Albert Einstein |
Kältemaschine |
| DE554959 | 27.07.1933 |
Leo Szilard, Albert Einstein |
Vorrichtung zur Bewegung von fluessigem Metall, insbesondere zur Verdichtung von Gasen und Daempfen in Kaeltemaschinen |
|
|
28.07.1932 |
Leo Szilard, Albert Einstein |
Pumpe, vorzugsweise fuer Kaeltemaschinen |
|
|
16.09.1933 |
Leo Szilard, Albert Einstein |
Pumpe, vorzugsweise fuer Kaeltemaschinen |
| DE561904 | 13.04.1933 |
Leo Szilard, Albert Einstein |
Kaeltemaschine |
| DE562040 | 20.09.1933 |
Leo Szilard, Albert Einstein |
Elektromagnetische Vorrichtung zur Erzeugung einer oszillierenden Bewegung |
| DE562300 | 08.04.1933 |
Leo Szilard, Albert Einstein |
Kaeltemaschine |
| DE565614 | 04.07.1933 |
Leo Szilard, Albert Einstein |
Kompressor |
| DE563403 | 30.05.1933 |
Leo Szilard, Albert Einstein |
Kaeltemaschine |
| DE590783C | 01.10.1934 |
Rudolf Goldschmidt, Albert Einstein |
Vorrichtung, insbesondere fuer Schallwiedergabegeraete, bei der elektrische Stromaenderungen durch Magnetostriktion Bewegungen eines Magnetkoerpers hervorrufen |
| US2058562 | 27.10.1936 | Gustav Bucky, Albert Einstein | Light intensity self-adjusting camera |
| USD101756 | 27.10.1936 | Albert Einstein | Design for a blouse |
En los años 20 del siglo pasado la refrigeración doméstica se estaba implantando lentamente en Europa. Se utilizaban refrigerantes tóxicos como el amoniaco, el dióxido de azufre o el cloruro de metilo y como consecuencia se producían accidentes de intoxicación por fugas de los refrigerantes. Este fue el problema que llevó a Einstein y a su alumno en la universidad de Zúrich, el húngaro Leo Szilard a desarrollar sus invenciones sobre refrigeración. El detonante podría haber sido un accidente en Berlín en el que murió toda una familia a causa de una fuga de refrigerante.
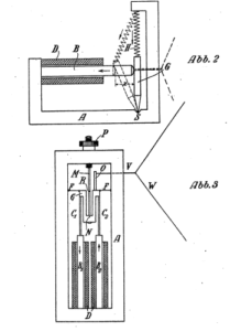
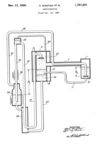
Einstein y Szilard inventaron un refrigerador y diversos perfeccionamientos con el fin de eliminar la utilización de refrigerantes tóxicos, partes movibles y el compresor mecánico. Su principal invento era el refrigerador de absorción (US1781541). Se utilizaba butano como refrigerante y mediante la introducción de amoniaco se reducía la presión del butano y este entraba en ebullición absorbiendo energía y refrigerando. La patente estadounidense fue adquirida por la empresa sueca Electrolux, pero no se llegó a comercializar pues aparecieron nuevos refrigerantes muy eficaces y no tóxicos como los gases clorofluorocarbonados.
El frigorífico de Einstein (US1781541)
Albert Einstein también colaboró con el ingeniero y prolífico inventor alemán Rudolf Goldschmidt, concibiendo la invención protegida por la patente alemana DE590783C publicada el 01.10.1934. Se trataba de un audífono. Olga Eisner, una cantante conocida de Einstein, estaba perdiendo audición y este solicitó ayuda a Goldschmidt para el desarrollo de un nuevo tipo de audífono, basado en la magnetostricción, mediante la cual se transformaba el sonido en unas vibraciones que se transmitían al cráneo. Sin embargo, en esa época Hitler llegó al poder en Alemania y los dos inventores tuvieron que exiliarse y el proyecto quedó abandonado y no se comercializó.

Figuras de DE590783C
La tercera de las invenciones que patentó Einstein estaba relacionada con el fenómeno que le había facilitado la obtención del premio nobel, el fotoeléctrico. En esta ocasión, ya en América, Einstein colaboró con el inventor alemán emigrado a los Estados Unidos Gustav Bucky el cual era radiólogo. Albert lo conoció con motivo del tratamiento de la enfermedad de su esposa Elsa. La invención objeto de la patente US2058562 utilizaba una célula fotoeléctrica para regular la luz que llegaba a la película fotográfica y no llegó a ser comercializada.

Figuras de US2058562
Sorprendentemente, Albert Einstein también figura como inventor en una patente de diseño estadounidense USD101756 sobre un tipo de camisa, en el que unas aberturas laterales sirven para introducir los brazos.
CONCLUSIONES
El centenario de la visita de Einstein a España, en la que fue recibido como la celebridad que ya entonces era, nos ha servido de excusa para repasar la relación de Einstein con el mundo de las patentes, que como el lector habrá observado, fue muy estrecha. Hay quien especula sobre si el hecho de haber trabajado como examinador de patentes le habría inculcado la capacidad inventiva necesaria para desarrollar sus teorías de la física, pero de la documentación examinada parecería que su período como examinador en realidad le proporcionó el tiempo y la estabilidad económica necesarios para “pensar”. Independientemente de ello, es difícil encontrar a una persona que a lo largo de su vida haya sido examinador de patentes, perito en juicios de patentes e inventor y solicitante de patentes. Los que trabajamos en el examen de las solicitudes de patente no podemos evitar sentir orgullo por el hecho de que el “genio” por antonomasia desempeñara nuestra profesión.
Leopoldo Belda Soriano
Jefe de Área de Patentes Mecánica General y Construcción
El frigorífico de Einstein (US1781541)
Sin duda el mejor cientifico y genio, un personaje único.
Me ha encantado el artículo.
Es cierto que cuando Einstein llegó a España en 1923 era ya una figura mítica, quizás no tanto como en los años 50, pero sin duda lo era.
Como siempre, el autor combina el sentido del humor y la anécdota con la erudición y la Historia. Interesantísimo artículo sobre una figura tan excepcional y peculiar. Yo no sabía que había visitado nuestro país, ni que había trabajado en el examen de Patentes.
I really like your article thank you for your good content
Sin duda fue un gran genio, me ha encantado el post.
Gracis por compartir tan valiosa información.