![]()
EL FILÁNTROPO Y LA PATENTE.
Las patentes pueden ayudarle a mantener una ventaja competitiva en los mercados, pero también pueden informar a la competencia de sus avances más innovadores, por eso es fundamental discernir cuándo es el momento adecuado para presentar una solicitud de patente, y qué actividades propias pueden invalidar su patente, realizar una vigilancia tecnológica periódica y conocer la fortaleza de sus activos. Analizamos un caso real.
Hoy abrí, apática, una de esas cartas que me manda mi universidad estadounidense normalmente para solicitar donaciones. Sin embargo esta vez la carta anunciaba la creación de un nuevo instituto dedicado a la medicina familiar gracias a la generosa donación del recientemente fallecido Al Weatherhead y su esposa, Celia.
El nombre de Weatherhead me trae gratos recuerdos de mis años de estudiante de doctorado. Entre otros, la primera vez que oí hablar de patentes y transferencia de tecnología, fue bajo el techo del fastuoso edificio diseñado por Frank O. Gehry de la escuela de negocios Weatherhead. A partir de entonces se creó el Centro para las leyes, la tecnología y las artes que siguió impartiendo estas materias a los estudiantes y que tiene hoy un estupendo programa para que los estudiantes aprendan a desarrollar el potencial comercial de los descubrimientos científicos.
Pero, volviendo a Weatherhead el filántropo, uno se pregunta: ¿Cómo consiguió hacer tanto dinero en su vida? Weatherchem Corp., fabrica y vende tapitas de plástico para tarros de especias. ¿Utiliza las patentes a mantener su ventaja competitiva en el mercado? Una rápida búsqueda en esp@cenet resulta en más de 50 solicitudes de patente en todo el mundo. Pero me centraré en su producto estrella, el dispensador con dos pestañas. ¿Quién no lo conoce?
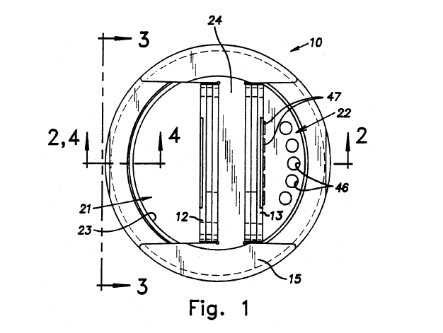
Este cierre y sus subsiguientes perfeccionamientos están descritos en varias patentes, weatherchem también utilizó la protección conferida por el diseño industrial para las mejoras que no tenían carácter técnico, si no que eran meramente ornamentales. En un principio, las invenciones que describen dichas patentes podrían parecer poca cosa, pero si uno se fija en la ubicuidad, en todas las cocinas del mundo, de los tarros de especias cilíndricos y los cierres que los sellan, la importancia y el valor de estas patentes se hace evidente.
En Estados Unidos, en los años 80, las especias se vendían en contenedores de aluminio rectangulares, que tenían una tapa de plástico con dos pestañas, una para dosificar la especie directamente desde el tarro, y otra para introducir una cuchara. El problema de estos contenedores es que no permiten ver el interior del tarro y que es muy difícil introducir en ellos un sello que garantice el primer uso del material.
Con el fin de mejorar el contenedor, Durkee, uno de los mayores distribuidores de especias mundiales, solicitó a Weaderchem que desarrollara una tapa que se ajustara a sus necesidades. En 1985 Durkee realizó el primer pedido de 500 tapas a Weatherchem.
Las tapas de Weatherchem introdujeron tres avances técnicos importantes: 1) un orificio suficientemente amplio como para introducir una cuchara y que no se deformara al montar las tapas a alta temperatura, 2) permitían introducir un sello de garantía que tapara el orificio del tarro previamente a su primer uso y 3) las pestañas del cierre presentaban unos enganches que aseguran el cierre mientras que se puede utilizar un solo dedo para su apertura. Sin embargo, Weatherchem no solicitó una patente inmediatamente ya que pensaban que estas tapas no eran patentables. Cuando Durkee les notificó su intención de patentar las tapas, Weaterchem rápidamente (17 Nov. 1986) solicitó protección mediante patente y diseño industrial.
La solicitud, mas tarde patente concedida, superó un primer ataque de Durkee reclamando la titularidad del invento. Este “ataque” se conoce como “interference proceedings” y consiste en proveer evidencias ante la USPTO (United States Patent and Trademark Office) para que determine cual de las dos partes inventó primero la invención en disputa (el sistema americano es el único que basa su prioridad en quien primero haya inventado y no en quien primero haya solicitado protección). Uno se pregunta si el cliente seguiría haciendo pedidos después de esta disputa. Aquí también se aprecia el valor de esta tecnología ya que, una patente no vale nada sin clientes. Evidentemente, la magnitud del mercado debía aconsejar arriesgar el cliente por conseguir el monopolio. En 1988, Weatherchem vendía 1 millón de dólares al año solo con estas tapas; en 1995, alrededor de 16 millones de dólares.
Años mas tarde, otro de los principales distribuidores de especias en el mundo, decidió pasarse a los tarros transparentes y, rechazando la oferta de Weathechem para sus tapas, solicitó a la competencia ( JL Clark Inc.), que desarrollara unas tapas que fueran competitivas con las ya existentes, previo acuerdo de indemnización si hubiera infracción de las patentes de Weatherchem u otras.
En 1996, Weatherchem demandó a JL Clark Inc. por infracción de dos de sus patentes. Naturalmente JL Clark Inc. se defendió argumentando que, no solo sus productos no infringían las patentes en cuestión, si no que además estas eran invalidas por dos razones: la invención carecía de actividad inventiva y había sido puesta a disposición del público más de un año antes a la presentación de la solicitud de dicha patente.
Hay que saber que las leyes de patentes de los Estados Unidos también se diferencian de las de otros países (incluidos España y todos los países firmantes del EPC) en el periodo de gracia de un año, que se concede a un inventor para que su invención no se considere anticipada (falta de novedad). Un inventor estadounidense puede exhibir su invento en ferias y comercializarlo y después solicitar protección, -siempre que lo haga dentro de un plazo máximo de un año-; Si un inventor español o europeo hiciera esto, arruinaría su propia solicitud. Su solicitud sería papel mojado ya que se consideraría de dominio público y tendría falta de novedad. Si llegara a ser concedida, sería fácilmente anulada por la competencia en base a dichas exhibiciones. Sin embargo, en EEUU el inventor dispone de un año para tantear el mercado antes de la solicitud, pero solo de un año.
El juez del caso, encontró que las tapas de JL Clark si infringían las patentes de Weatherchem. No obstante, el juez encontró que ambas patentes eran inválidas, la primera por haber incurrido en comercialización más de un año antes de la solicitud, y la segunda por falta de actividad inventiva a la vista de una tercera tapa de otra compañía. ¡Vaya chasco para Weatherchem!, no solo no obtuvo daños y perjuicios por la infracción de sus patentes, si no que se quedó sin ellas.
De esta historia se desprenden algunas enseñanzas importantes para las empresas innovadoras:
1.- Vale más solicitar una patente y luego abandonarla que solicitarla demasiado tarde arriesgando la novedad.
2.- Busque siempre asesoramiento profesional.
3.- Firme siempre acuerdos de confidencialidad y no cabree a su cliente. Durkee podría haber declarado que sus compras a Weatherchem se correspondían con una tentativa experimental y/o caian dentro de los acuerdos de confidencialidad cliente-proveedor. Sin embargo, durante el juicio, Durkee declaró en contra de Weatherhead, afirmando que habían sido ventas en el sentido clásico.
4.- Realice vigilancias de tecnología. La segunda patente invalidada por falta de actividad inventiva prodría seguramente haberse salvado de haber conocido la existencia de la tercera tapa.
5.- Conozca la fortaleza de sus activos antes de embarcarse en una demanda puesto que siempre corre el riesgo de perderlos.
Requiescat in pace Al Weatherhead.

El filántropo y la patente. by Maribel Rico is licensed under a Creative Commons Reconocimiento-NoComercial-SinObraDerivada 3.0 Unported License.
[…] productoras de medicamentos genéricos, pero también para –digamos- las que hacen los tapones de los botes de especias. En ambos casos el competidor querrá saber cuándo expira el derecho de exclusividad del invento […]
Muchas felicitaciones por los contenidos vertidos en los artículos siendo claros y concisos para todos aquellos que precisan aplicar herramientas en propiedad intelectual, tanto para investigadores ,inventores, corporaciones, empresas ,pymes etc.
Atte. Alberto
Excelente descripción de la realidad y un gran aporte a todas aquellas empresas que comienzan sus primeros caminos en el patentamiento de invenciones.
Felicitaciones!
Pablo
otra enseñanza que se desprende de esta historia: las empresas son los organismos que se sustentan en el negocio de las patentes. la creatividad humana no es un invento de las empresas, las patentes es un sistema creado para controlar y hacer crecer empresas usando la creatividad del individuo y la sociedad humana. la creatividad humana existe asi existan o no las patentes, pero las patentes condicionan a que la creatividad humana solo sea para resultados utiles para las empresas organizadas en torno a lo que decide el mercado (no para los problemas de las sociedades humanas).