![]()
El tenis y la propiedad industrial
Un año más nos encontramos a finales de mayo y ello significa que comienza el torneo de Roland Garros, uno de los cuatro torneos del grand slam y el torneo donde más triunfos han obtenido los tenistas españoles. Por supuesto, dentro del mundo del tenis se generan numerosos intangibles que pueden ser protegidos mediante la propiedad industrial. El tenis es un deporte en el que se patentan numerosas invenciones y por ello hay unos cuantos grupos de la Clasificación Internacional de Patentesdedicados a este juego:
El deporte del tenis fue inventado alrededor de 1865 por parte del abogado inglés Harry Gem y su amigo de origen español pero establecido en Inglaterra Augurio Perera al combinar el juego de pelota vasca, al que jugaba Augurio Perera, con las raquetas. No se conoce que se patentara, aunque sí hay noticias de que unos años más tarde se patentó un juego similar llamado sphairistikè destinado a jugarse sobre el césped por lo que también se lo denominaba “Lawn Tennis” dada la complejidad del primer nombre. Hoy en día no habría sido posible patentarlo en Europa, porque el Convenio de la Patente Europea prohíbe explícitamente en su artículo 52.c la protección mediante patente de las reglas de juegos:![]()

Portada de las Normas del “Lawn Tennis”
Dada las características de este deporte, un gran número de las invenciones se refieren a la raqueta. Por ejemplo, ya en el año 1887 se concedió la patente US371846sobre una raqueta de tenis.
Las invenciones relacionadas con las raquetas son muy diversas pero se puede decir que la evolución técnica de las mismas a lo largo de la historia se ha centrado en los materiales empleados para su fabricación. Hasta la década de los sesenta las raquetas se fabricaban en madera laminada. A finales de esa década se comenzaron a fabricar en acero. A partir de 1975 y siempre con el objetivo de aligerar su peso, se empezaron a fabricar en aluminio. Fue en la década de los 80 cuando se introdujo el grafito. Hoy en día este material se suele mezclar con titanio y tungsteno. También se fabrican en fibra de vidrio, pero la gran revolución en estos momentos es la fabricación de raquetas en grafeno.
Primera reivindicación de la solicitud US20130090193 sobre utilización del grafeno como refuerzo en el marco de una raqueta
Dentro de las raquetas, otro sector en el que se ha producido una revolución tecnológica es el del “spinning” o giro de la pelota. Según se ha estudiado, un adecuado giro de la pelota permite que ésta llegue a lugares a los que no podría llegar sin el mismo. La marca Wilson ha desarrollado un cordaje para raquetas que permite obtener muy buenos resultados por lo que se refiere al efecto del “spinning”. Esta tecnología es el objeto de la solicitud de patente de número US2014206482.
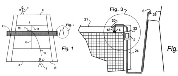
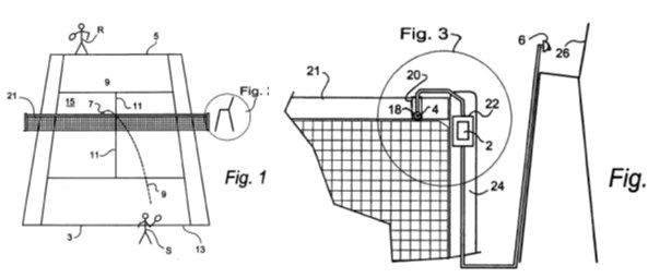
Otro sector en el que indudablemente ha habido una evolución tecnológica es el de las redes. Entre las invenciones más recientes relacionadas con las redes se encuentran los sensores que detectan si la pelota tocó la red tras el servicio, como se muestra en el documento de patente GB2394426. 
Figuras de la solicitud GB2394426
Uno de los problemas que tradicionalmente se han planteado en el tenis es cómo determinar si una pelota ha botado a un lado u otro de la línea. Desde hace unos años se emplea el dispositivo denominado “Hawk-eye” u “ojo de halcón” y su utilización se ha extendido también al fútbol y otros deportes. Este sistema fue inventado por el británico Paul Hawkings en 2001 para su utilización en TV y en el Cricket. Consiste en ubicar bajo el techo del estadio 6 o 7 cámaras que siguen la pelota desde diferentes ángulos. El vídeo de todas las cámaras se triangula y combina para crear una representación tridimensional de la trayectoria de la pelota. No es infalible pero es preciso dentro de un margen de 5 mm y en el tenis los árbitros lo utilizan en caso de duda. La primera solicitud patente sobre el sistema fue la de numero WO0141884.
Las pelotas de tenis tradicionales están presurizadas, es decir, poseen aire a presión en su interior proporcionando una gran capacidad de bote. Este aire a presión se va escapando con el tiempo y en los torneos profesionales cada cierto tiempo son sustituidas, porque al perder el aire a presión se pierde capacidad de bote. Un invento destinado a solucionar este problema es la utilización de contenedores para las pelotas de tenis que llevan incorporada una bomba manual que permite insuflar aire a presión al interior, impidiendo que a su vez las pelotas pierdan presión. La patente de número US4019629 tiene por objeto una tapa para contenedores de pelotas de tenis con bomba manual incorporada.
Figuras de la patente US4019629
Otro problema que todos hemos experimentado alguna vez al jugar al tenis es el de la recogida de las pelotas, siempre claro que no se cuente con recogepelotas como es el caso de los tenistas profesionales. Es incontable el número de veces que uno tiene que agacharse para recoger la pelota del suelo y seguir jugando. Son innumerables las invenciones patentadas que tienen por objeto tratar de resolver este problema. La solicitud de patente PCT WO2014162026A1 se refiere a una invención muy sencilla que intenta facilitar la recogida de la pelota sin necesidad de doblar la espalda. Consiste en adherir a una zapatilla un parche con velcro.
Figuras de la solicitud PCT WO2014162026A1
Otro capítulo en el que han abundado las invenciones es el de los aparatos destinados a facilitar el entrenamiento, especialmente en solitario. Como ejemplo se puede citar la solicitud de patente PCT de número WO2009077630 cuyo objeto es un dispositivo de entrenamiento para tenistas que comprende un mástil fijado por su extremo inferior al suelo presentando asociado en el extremo libre superior una cuerda de la que pende una pelota de tenis.
Figura de WO2009077630
También el diseño industrial juega un papel en la protección, por ejemplo, del aspecto de las raquetas:
Por supuesto, también en el mundo del tenis hay intangibles que pueden ser protegidos como marcas, sobre todo por lo que se refiere a la imagen de los grandes tenistas. A continuación se ofrece una selección de algunas de estas marcas:








[…] hay una entrada en nuestro blog sobre este juego, y en ella se pueden encontrar grandes invenciones relacionadas con las pistas, […]
Los derechos concedidos por la patente se encuentran definidos en el título VI de la Ley de Patentes 11/1986 y muy brevemente se puede resumir en que la patente concede al titular el derecho a impedir a terceros que no cuenten con su permiso la explotación de la invención. Por tanto, la obtención de una patente no implica que se vaya a comercializar. Una vez obtenida la patente, puede ocurrir que por ejemplo no sea rentable su comercialización, que la fabricación del objeto de la patente sea muy complicada, etc. Se calcula que un número muy reducido de las invenciones protegidas mediante patente se llegan a explotar, por tanto no debe sorprenderle no ver en los comercios invenciones que han sido patentadas.»
Soy muy aficionado al tenis y nunca he visto muchas de esas invenciones en las tiendas. Estaría interesado en algunas de ellas pues parecen útiles. Pensaba que si algo está patentado es que se vende ¿es así?
Ojalá me equivoque pero me temo que este año Nadal no va a ganar. Se acabó su época dorada. Interesante la selección de inventos.